Rollkit joint drive for double-leaf gate, set
Contact
Contact
For more information, please contact our sales:
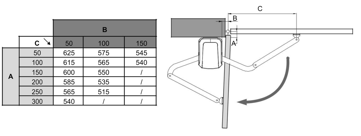
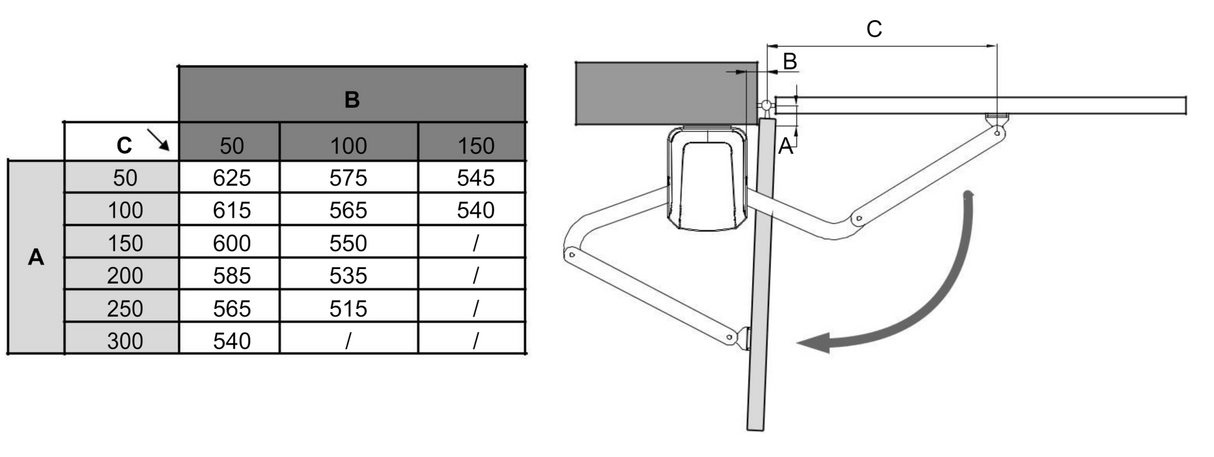
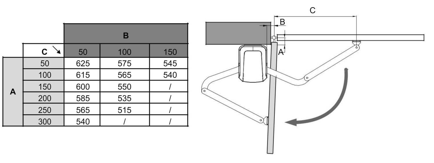
Parameters
Parts of set
ROLLKIT electronics for double-leaf gate CUW-24S
Remote controller for TURN, DRIFT rolling code, 4C TR2-434
Catalog list
Alternative products
CAME articulated drive for double-leaf gate, set with photocells FAST-PLUS-ZKIT
Stock availability
Price history
Nice hinged drive for a double-leaf gate, set with photocells HOPPBDKCE
Stock availability
Price history
Rollkit joint drive for double-leaf gate, set ARM-2050-SMART
Stock availability
Price history
Automatic motor with electronics for wing max. 2.3m/200 FA-70230CB
Automatic motor without electronics for a wing up to 2.3m/200kg FA-70230
Radio card 433,9 MHz AF-43-S
Transmitter - 433,9 MHz four-channel AT04EV
Photocell for plaster montage max. 10m DIR-10
In sets
Rollkit articulated drive for double-leaf gate, set with photocells ARM2050-SMART-ZKIT
Stock availability
Price history
Rollkit joint drive for double-leaf gate, set ARM-2050-SMART
ROLLKIT photocell for plaster max 20m FT-20



